Kies uw leveringslocatie

De keuze van de land/regio-pagina kan invloed hebben op verschillende factoren zoals prijs, verzendopties en beschikbaarheid van producten.
Mijn contactpersoon
igus® B.V.

Modemweg 37c

3821 BS Amersfoort

+31(0)346 353 932
NL(NL)

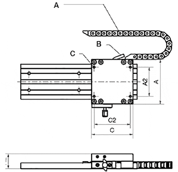
drylin® WKMEX-10-80: Ready-to-install measuring system

A = energychain 045.10.028.0, not part of the article
B = signal cables
C = K2
Very little installation space taken by the drylin® WKMEX measuring system. The sensor head is integrated into the just 36 mm high carriage. There are three sensor options, two are compatible with TTL Line Driver. An igus® e-chain® 045.10.028.0 is recommended for guiding the signal cable. For length-specific part numbers see:
System E2 micro
System easychain®

Ready-to-install system for external data output

At 4 edge triggering (setting parameters of the display or control system, for example, IW4) and +20 °C ambient temperature: resolution: ±(0.025 + 0.02 · L) L = measurement length in metres; repeatability: ±0.025 mm

At 1 edge triggering (setting parameters of the display or control system, for example, IW1) and +20 °C ambient temperature: resolution: ±(0.1 + 0.02 · L) L = measurement length in metres; repeatability: ±0.025 mm

Small sensor with integrated evaluation electronics

Output signals: differential mode sustained short circuit-proof with inverted signals (A. A/, B, B/, Z, Z/)

Delivery Program measuring device

All types A A2 C C2 H2 K2 Resolution    
  [mm] [mm] [mm] [mm] [mm] [mm] [mm]    
Verzendklaar in 10 werkdagen WKMEX-10-80-2.5-00-01 107 70 100 87 36 M6 0,1 op aanvraag Voeg toe aan winkelmandje
Verzendklaar in 10 werkdagen WKMEX-10-80-2.5-01-01 107 70 100 87 36 M6 0,1 op aanvraag Voeg toe aan winkelmandje
Verzendklaar in 10 werkdagen WKMEX-10-80-2.5-11-01 107 70 100 87 36 M6 0,1 op aanvraag Voeg toe aan winkelmandje
Meer over het geselecteerde onderdeel:
3D-CAD 3D-CAD
Monsterbestelling Monsterbestelling
PDF PDF
Prijsaanvraag Prijsaanvraag
myCatalog myCatalog
  Sensor type Nominal voltage Output power max. length of signal cable
  00 10 - 30 V 10 - 30 V 30 m
  01 10 - 30 V 5 V (TTL Line Driver) 50 m
  11 5 V 5 V (TTL Line Driver) 10 m
specifications
Measuring principle Incremental
Repeat accuracy ± 1 increment
Pole division 5 mm
Sensor housing Zinc die cast
Protection class IP67
Operating temperature -10 … +70° C
Max. humidity 95%, non-condensing
Max. speed 4,0 m/s
VDC power supply 5 VDC or 10 to 30 VDC
Current draw 5 VDC: max. 200 mA
10 to 30 VDC: max. 150 mA
Internal evaluation electronics Internal evaluation electronics
Output power 5 V-TTL line driver or 10 to 30 V_HTL
Source tracks A, A‘,B, B‘, Z, Z‘
Max. cable length Max. cable length 5V/5V-TTL = 10 m
10-30V/10-30V = 30 m
10-30V/5V-TTL = 50 m

Max. permissible distance from magnetic tape 2,0 mm
Connection method Open cable ends

More information:


Verzendklaar in 10 werkdagen

The termen "Apiro", "AutoChain", "CFRIP", "chainflex", "chainge", "chains for cranes", "ConProtect", "cradle-chain", "CTD", "drygear", "drylin", "dryspin", "dry-tech", "dryway", "easy chain", "e-chain", "e-chain systems", "e-ketten", "e-kettensysteme", "e-loop", "energy chain", "energy chain systems", "enjoyneering", "e-skin", "e-spool", "fixflex", "flizz", "i.Cee", "ibow", "igear", "iglidur", "igubal", "igumid", "igus", "igus improves what moves", "igus:bike", "igusGO", "igutex", "iguverse", "iguversum", "kineKIT", "kopla", "manus", "motion plastics", "motion polymers", "motionary", "plastics for longer life", "print2mold", "Rawbot", "RBTX", "readycable", "readychain", "ReBeL", "ReCyycle", "reguse", "robolink", "Rohbot", "savfe", "speedigus", "superwise", "take the dryway", "tribofilament", "tribotape", "triflex", "twisterchain", "when it moves, igus improves", "xirodur", "xiros" en "yes" zijn wettelijk beschermde handelsmerken van igus® GmbH/Keulen in de Bondsrepubliek Duitsland en, indien van toepassing, in sommige andere landen. Dit is een niet-uitputtende lijst van handelsmerken (bijv. lopende handelsmerkaanvragen of geregistreerde handelsmerken) van igus GmbH of gelieerde ondernemingen van igus in Duitsland, de Europese Unie, de VS en/of andere landen of rechtsgebieden.

igus® GmbH benadrukt dat het geen producten verkoopt van de bedrijven Allen Bradley, B&R, Baumüller, Beckhoff, Lahr, Control Techniques, Danaher Motion, ELAU, FAGOR, FANUC, Festo, Heidenhain, Jetter, Lenze, LinMot, LTi DRiVES, Mitsubishi, NUM, Parker, Bosch Rexroth, SEW, Siemens, Stöber en alle andere drive-fabrikanten die worden genoemd op deze website. De producten die worden aangeboden door igus® zijn die van igus® B.V.